導致發電機故障部位解析
本文接著前兩篇,再和大家確定導致發電機故障部位在哪里呢??
1、故障部位確定
a、更換電子調速器控制器,重新啟動故障未排除;
b、檢查執行器,給執行器接通工作電源,執行器工作正常;
c、檢查轉速傳感器,發現傳感器固定螺帽松動,按照規定安裝轉速傳感器,重新啟動故障排除。
2、故障機理分析
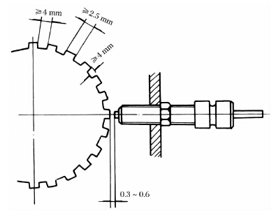
轉速傳感器安裝示意圖見圖5。

圖5、轉速傳感器安裝示意圖
轉速傳感器安裝時要求傳感器頂部與齒頂間隙在0.3~0.6mm。通過試驗得到一定發電機轉速下傳感器頂部與齒頂間隙與傳感器輸出電壓的曲線如圖6。

圖6、一定轉速下傳感器頂部與齒頂間隙與傳感器輸出電壓試驗圖
由圖可知當間隙超過1.5mm時傳感器已經不能正常輸出感應電壓。此時控制器將轉速傳感器的電壓信號與轉速調整電位器的轉速設定值進行比較,輸出電壓差,由于轉速傳感器電壓信號幾乎為零,因此始終存在電壓差,該值又經PID放大后,輸入功率放大電路,驅動執行電機開大化油器節氣門,轉速提高后控制器仍然不能從轉速傳感器得到轉速信號,繼續增大直至將執行器的開度推到極限值,出現了“飛車”的故障現象。
3、采取措施
根據上述分析,可知該型電站發電機電子調速控制系統存在較多隱患,建議改進措施為:
①將兩個轉速傳感器(轉速表和控制系統的轉速傳感器)的電壓進行比較,若差值較大提示報警,若相同再將信號傳送給調速控制器,可避免轉速傳感器故障導致的危險;
②加裝限動裝置,控制執行器機械行程,即使發生了類似故障也可避免發電機轉速過大;
③要求嚴格維修保障質量、維修使用過程控制,將電子調速控制系統的檢查列入周維修檢查內容;
④轉速傳感器固定采用防松動墊片,并標記螺帽固定位置。確保傳感器正常發揮作用。
此文關鍵字:導致發電機故障部位
相關資訊
- 家用柴油發電機的最新技術是什么?
- 五千瓦三相柴油發電機牽動了誰的心?
- 九千瓦便移式汽油發電機組的創新就要花樣百出
- 水泵體現企業精神
- 小型柴油發電機的保養你應該之多少?
- 可定制的大型柴油發電機
- 汽油發電機組檢修技術
- 可定制20KW以上的柴油發電機
最新產品
同類文章排行
- 汽油發電機優勢出現高溫報警的原因
- 如何選購發電機蘊含大大的能量
- 柴油水泵常見故障為何排氣管有時滴油
- 汽油和柴油發電機組區別日常啟動步驟
- 汽油發電機用途“心臟”如何保養
- 汽油發電機是否省油如何接線安全
- 汽油發電機優勢磨合期如何安全度過
- 小型汽油發電機優點柴油發電機特點
- 汽油發電機選購起動前準備檢查
- 汽油發電機“燙護秘方”冷卻液溫度偏高解決
最新資訊文章
您的瀏覽歷史




